六角穴用インサート&ホルダ
hexagonレンチ穴などの六角穴加工をNC旋盤やマシニングセンダに工程集約できるツールです。
六角穴用インサート&ホルダとは
レヴの六角穴用インサート&ホルダは対辺9mm~70mmまでの四角穴を一般的なNC旋盤やマシニングセンタで加工できるツールです。ツールは一般的なサイドロックタイプのボーリングバーホルダに挿入して使用します。
レヴのスロッティングインサートのさらに詳しい製品特長はこちらをご確認ください。
ツールの選び方
加工したい穴サイズに合わせたサイズのインサートを選びます。各インサートには対応するUTホルダが用意されているので、正しい組み合わせで使用します。
標準インサートはスロッティング加工に最適化されたオリジナルの焼結合金を母材とし、TiNコーティングが施されています。アルミ~ステンレスまでオールマイティに使用できるインサートとなります。インサートの型番が決まったら、対応するUTホルダを選定します。ホルダはφ16、φ20、φ25、φ32の4種のシャンクサイズを展開しています。ワークの加工長や内径をチェックしてツールが適合するか確認してください。
適合するツールが見つからない場合は特注品の設計製作を行うこともできます。
特注品についてはこちらをご確認ください。
インサート型番(IN-HEX)
- IN-HEXインサートはすべて国内在庫のため、1個単位でご購入いただけます。
- かならず対応するUT-HEXホルダとの組み合わせでご使用ください。
- ★印のついているインサートは国内在庫対象品です。
型番表記の詳細や用語についての詳しい情報はこちらをご確認ください。
| 型番 | 国内 在庫 |
材質 | 最小六角穴 (mm) |
最大六角穴 (mm) |
最小六角穴 (inch) |
最大六角穴 (inch) |
L2 (mm) |
L3 (mm) |
L4 (mm) |
L5 (mm) |
対応 ホルダ UT |
標準ホルダ 使用時 最小穴径(φ) |
インサート 固定ねじ |
|---|---|---|---|---|---|---|---|---|---|---|---|---|---|
| IN-HEX-9/11 | ★ | 焼結金属 | 9 | 11 | 0.354 | 0.433 | 6.08 | 7 | 5 | 7.5 | UT-HEX-9/11 | 9 | VN-1 |
| IN-HEX-11/17 | ★ | 11 | 17 | 0.433 | 0.669 | 8 | UT-HEX-11/17 | 11 | |||||
| IN-HEX-17/28 | ★ | 17 | 28 | 0.669 | 1.102 | 10.08 | 9 | 6 | 13.5 | UT-HEX-17/28 | 17 | VN-2 | |
| IN-HEX-28/37 | ★ | 28 | 37 | 1.102 | 1.456 | 13.1 | 14 | 10 | 18.5 | UT-HEX-28/37 | 28 | VN-3 | |
| IN-HEX-37/45 | ★ | 37 | 45 | 1.456 | 1.771 | 18 | 22 | UT-HEX-37/45 | 37 | ||||
| IN-HEX-45/70 | ★ | 45 | 70 | 1.771 | 2.755 | 26 | 16 | 30 | UT-HEX-45/70 | 45 | VN-4 |
ホルダ型番(UT-HEX)
- 標準UT-HEXホルダは1個単位でご購入いただけます。
- かならず適切なIN-HEXインサートとの組み合わせでご使用ください。
- ★印のついているホルダは国内在庫対象品です。それ以外の製品はイタリアからの取り寄せ品となります
- インサート固定ねじはホルダ1本につき1本付属しています。
- 固定ねじ用のレンチは付属していません。サイズ表を参考に市販のレンチをご使用ください。
- 既製品の有効長や最小穴径がワークと合致しない場合は特注品の製作も可能です。
特注品についてはこちらをご確認ください。
型番表記の詳細や用語についての詳しい情報はこちらをご確認ください。
| 型番 | 国内 在庫 |
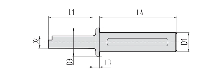
材質 | L1= 有効長 (mm) |
L3 (mm) |
L4= シャンク長 (mm) |
D1= シャンク径 (mm) |
D2 (mm) |
D3 (mm) |
主な対応 インサート IN |
最小 穴径 (φ) |
インサート 固定ねじ |
レンチ サイズ |
アライ メント プレート |
偏芯 ブッシュ |
|---|---|---|---|---|---|---|---|---|---|---|---|---|---|---|
| UT-HEX-9/11-16 | ★ | 焼入硬化鋼 | 30 | 5 | 40 | 16 | 8 | 24 | IN-HEX-9/11 | 9 | VN-1 | T08 | PN-1 | - |
| UT-HEX-9/11-20 | ★ | 50 | 20 | - | ||||||||||
| UT-HEX-9/11-25 | ★ | 9 | 90 | 25 | 30 | B-32 | ||||||||
| UT-HEX-9/11-32 | ★ | 100 | 32 | 38 | B-40, B-50 |
|||||||||
| UT-HEX-11/17-16 | ★ | 焼入硬化鋼 | 40 | 5 | 40 | 16 | 10 | 24 | IN-HEX-11/17 | 11 | VN-1 | T08 | PN-1 | - |
| UT-HEX-11/17-20 | ★ | 50 | 20 | - | ||||||||||
| UT-HEX-11/17-25 | ★ | 9 | 90 | 25 | 30 | B-32 | ||||||||
| UT-HEX-11/17-32 | ★ | 100 | 32 | 38 | B-40, B-50 |
|||||||||
| UT-HEX-17/28-25 | ★ | 焼入硬化鋼 | 56 | 9 | 90 | 25 | 15 | 30 | IN-HEX-17/28 | 17 | VN-2 | T15 | PN-2 | B-32 |
| UT-HEX-17/28-32 | ★ | 100 | 32 | 38 | B-40, B-50 |
|||||||||
| UT-HEX-28/37-25 | ★ | 焼入硬化鋼 | 86 | 9 | 90 | 25 | 25 | 30 | IN-HEX-28/37 | 28 | VN-3 | T20 | PN-3 | B-32 |
| UT-HEX-28/37-32 | ★ | 100 | 32 | 38 | B-40, B-50 |
|||||||||
| UT-HEX-37/45-25 | ★ | 126 | 90 | 25 | 35 | 45 | IN-HEX-37/45 | 37 | PN-4 | B-32 | ||||
| UT-HEX-37/45-32 | ★ | 100 | 32 | B-40, B-50 |
||||||||||
| UT-HEX-45/70-32 | ★ | 焼入硬化鋼 | 140 | 9 | 100 | 32 | 40 | 45 | IN-HEX-45/70 | 45 | VN-4 | HEX5 | PN-5 | B-40, B-50 |
多角形穴加工時の注意点
REV(レヴ) スロッティングツールので多角形穴加工を行う場合、完全な正多角形とはならないことに注意が必要です。スロッティングツールで多角形穴を加工する場合、各頂点を分割して加工します。
切り屑を分断するためにスロッテイング前の下穴の径は加工する六角穴より、おおよそ2%程度大きな径とします。このため、加工後も各辺の中央部に下穴のRがわずかに残ります。
六角穴はほとんどの場合、レンチ穴やガイド穴として使用されます。これらの用途では角部の寸法が正確に出ていれば部品機能を十全に果たすのでRの残りは問題となりません。金型など一部の用途には適さない場合があるのでご注意ください。
また標準品のエッジはすべて糸面取り仕様となっています。角部にRなどを指定したい場合は特注品にて製作を承ることもできます。
特注品についてはこちらをご確認ください。
芯高さ(Y軸)補正オプション
多角形穴加工では形状が崩れないようにツールのの中心精度を保つことも重要です。REV(レヴ) スロッティングツールは芯高さ(Y軸)のNC制御ができない設備で加工する場合でも、芯高さを簡単に調整できるオプションを用意しています。
偏芯ブッシュを併用すると、Y軸制御ができない設備でも目盛を基準に簡単に芯調整が可能です。
偏芯ブッシュのさらに詳しい製品特長はこちらをご確認ください。
その他の情報
カタログダウンロード
ご相談、お問合せはこちら
フォームが表示されるまでしばらくお待ちください。
恐れ入りますが、しばらくお待ちいただいてもフォームが表示されない場合は、こちらまでお問い合わせください。
