特殊ツール・コーティング
BRIGHETTI broachtool量産用の寿命対策として特殊製作を行うコーティングブローチ、止まり穴の奥にある多角形加工を行うツール、外径ブローチなど各種特殊品の紹介ページです。
コーティングブローチ
標準のブローチツールはコストパフォーマンスに優れるハイス(HSS)のノンコート品となります。
量産加工を行う場合、寿命延長対策として加工する材種に合わせた各種コーティングの処理を施した特殊品コーティングブローチを受注製作することができます。
コーティングブローチはHSS、焼結金属のどちらの母材に対しても製作可能です。
対応するコーティングは5種類となります。
対応するコーティング
- HDP RED(STAR 4)
- WONDER
- TiN
- INOX PLUS
- ZIRINOS
下記の表は通常のHSSブローチとHSS+コーティング処理を施したブローチの比較一例でマッチングの参考資料となります。
| 材質 | コーティング | |||||
|---|---|---|---|---|---|---|
| HDP RED | TiN | WONDER | INOX PLUS | ZIRINOS | ||
| アルミニウム | - 引張強さ <500 N/mm2 | ● | ||||
| 鋼材 | - 引張強さ 700 - 850 N/mm2 | ● | ||||
| 鋼材 | - 引張強さ 1250 - 1400 N/mm2 | ● | ||||
| ステンレス鋼 | - 引張強さ ≦900 N/mm2 | ● | ● | |||
| ステンレス鋼 | - 引張強さ ≧ 900 N/mm2 | ● | ||||
| チタン合金 | - 引張強さ > 700 N/mm2 | ● | ||||
被削材:アルミ合金 A6082
コーティング材種:HDP RED(STAR 4)
寿命向上:+36%
被削材:炭素鋼 16NICr4
コーティング材種:WONDER
寿命向上:+25%
被削材:炭素鋼 S45C
コーティング材種:TIN
寿命向上:+28%
被削材:ステンレス鋼 SUS304
コーティング材種:INOX PLUS
寿命向上:+31%
被削材:チタン合金
コーティング材種:ZIRINOS
寿命向上:+27%
特殊調整型ブローチヘッドBR-G12A
BR-G12Aは止まり穴の底面に六角穴・四角穴などを加工する際に使用する特殊な機構を備えたツールです。
BR-G12A専用の特殊ブローチG12Aシリーズをしようすると下図のような止まり穴の底面にある多角形穴に対して、ブローチヘッドの干渉を避けて加工することができます。


加工可能な最大穴深さは55mmとなりますが、多角形穴の加工長(L1)は加工する形状とサイズによって異なります。 55mmの多角形穴を加工できる訳ではないのでご注意ください。
加工可能サイズについて、詳しくは各サイズのブローチのL1寸法をご確認ください。 深穴でのブローチは通常のブローチと比較すると、同一サイズでも加工負荷が高くなる傾向にあります。このため送り条件などを遅くする調整が必要となることがあります。
BR-G12Aは本体の調整によって、通常品のG12ブローチを使用することも可能です。
ブローチヘッド
BR-G12Aシリーズ専用のブローチヘッドです。
| ブローチ軸径(d) [mm] | φ12 |
|---|---|
| 対応ブローチ | G12、 G12A |
| 内部給油 | × |
| 六角穴加工 対応サイズ | 4-15mm |
| 四角穴加工 対応サイズ | 4-12mm |
| TORXⓇ加工 対応サイズ | 別注 |
| TORXⓇPLUS 対応サイズ | 別注 |
| 最大有効長 [mm] | 55 |
| ブローチ長(L) [mm] | 60 |
| ボディ長(H) [mm] | 80 |
| ボディ径(K) [mm] | 64 |
| 突き出量 (ブローチ長+ボディ長) [mm] |
140 |
| 本体重量 [g] | 1580 |
| 詳細型番 | 国内在庫 | シャンクサイズ |
|---|---|---|
| BR-G12A-C-19.05 | φ19.05 | |
| BR-G12A-C-20 | φ20 | |
| BR-G12B-C-22 | φ22 | |
| BR-G12B-C-25 | φ25 | |
| BR-G12B-C-25.4 | φ25.4 | |
| BR-G12A-C-32 | φ32 | |
| BR-G12A-CM3 | モールステーパ MT3 | |
| BR-G12A-ISO-30 | No.30 (ISO-DIN69871/DIN2080) | |
| BR-G12A-ISO-40 | No.40 (ISO-DIN69871/DIN2080) | |
| BR-G12A-VDI-30 | VDI30 | |
| BR-G12A-VDI-40 | VDI40 |
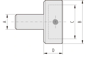
G12A六角ブローチ、四角ブローチ
BR-G12Aシリーズ専用のブローチです。
G12Aブローチ 軸径φ12ロングタイプ
★=国内在庫
| 六角ブローチ | 四角ブローチ | 詳細 | 対応 ブローチ ヘッド |
||||||||||||
|---|---|---|---|---|---|---|---|---|---|---|---|---|---|---|---|
| 製品コード(材質) | 製品コード(材質) | ||||||||||||||
| HSS | 焼結金属 | HSS | 焼結金属 | ||||||||||||
| 標準 | ★ | 標準 | ★ | 標準 | ★ | 標準 | ★ | d | A | L1 | L | C | D | ||
| G12A-E-4 | G12AK-E-4 | G12A-Q-4 | G12AK-Q-4 | 12 | 4 | +0.07 +0.09 | 55 | 60 | 9 | 10 | ロングタイプ BR-G12A シリーズ |
||||
| G12A-E-4.5 | G12AK-E-4.5 | G12A-Q-4.5 | G12AK-Q-4.5 | 12 | 4.5 | +0.07 +0.09 | 55 | 60 | 9 | 10 | |||||
| G12A-E-5 | G12AK-E-5 | G12A-Q-5 | G12AK-Q-5 | 12 | 5 | +0.08 +0.10 | 55 | 60 | 11 | 10 | |||||
| G12A-E-5.5 | G12AK-E-5.5 | G12A-Q-5.5 | G12AK-Q-5.5 | 12 | 5.5 | +0.08 +0.10 | 55 | 60 | 11 | 10 | |||||
| G12A-E-6 | G12AK-E-6 | G12A-Q-6 | G12AK-Q-6 | 12 | 6 | +0.08 +0.10 | 55 | 60 | 13 | 10 | |||||
| G12A-E-7 | G12AK-E-7 | G12A-Q-7 | G12AK-Q-7 | 12 | 7 | +0.08 +0.10 | 55 | 60 | 15 | 10 | |||||
| G12A-E-8 | G12AK-E-8 | G12A-Q-8 | G12AK-Q-8 | 12 | 8 | +0.08 +0.10 | 55 | 60 | 17 | 10 | |||||
| G12A-E-9 | G12AK-E-9 | G12A-Q-9 | G12AK-Q-9 | 12 | 9 | +0.09 +0.11 | 55 | 60 | 19 | 10 | |||||
| G12A-E-10 | G12AK-E-10 | G12A-Q-10 | G12AK-Q-10 | 12 | 10 | +0.10 +0.12 | 55 | 60 | 21 | 10 | |||||
| G12A-E-11 | G12AK-E-11 | G12A-Q-11 | G12AK-Q-11 | 12 | 11 | +0.10 +0.12 | 55 | 60 | 21 | 10 | |||||
| G12A-E-12 | G12AK-E-12 | G12A-Q-12 | G12AK-Q-12 | 12 | 12 | +0.11 +0.13 | 55 | 60 | 21 | 10 | |||||
| G12A-E-13 | G12AK-E-13 | / | / | 12 | 13 | +0.11 +0.13 | 55 | 60 | 21 | 11.5 | |||||
| G12A-E-14 | G12AK-E-14 | 12 | 14 | +0.12 +0.14 | 55 | 60 | 21 | 12.5 | |||||||
| G12A-E-15 | G12AK-E-15 | 12 | 15 | +0.13 +0.15 | 55 | 60 | 21 | 12.5 | |||||||
GP12A六角ブローチ、四角ブローチ(インチサイズ)
BR-G12Aシリーズ専用のブローチです。
GP12Aブローチ 軸径φ12ロング インチタイプ
| 六角ブローチ | 四角ブローチ | 詳細 | 対応 ブローチ ヘッド |
||||||||||||
|---|---|---|---|---|---|---|---|---|---|---|---|---|---|---|---|
| 製品コード(材質) | 製品コード(材質) | ||||||||||||||
| HSS | 焼結金属 | HSS | 焼結金属 | ||||||||||||
| 標準 | ★ | 標準 | ★ | 標準 | ★ | 標準 | ★ | d | A | L1 | L | C | D | ||
| GP12A-E-3/32" | GP12AK-E-3/32" | GP12A-Q-3/32" | GP12AK-Q-3/32" | 12 | 2.38 | +0.06 +0.08 | 55 | 60 | 5 | 10 | 標準 ロング BR-G12A シリーズ |
||||
| GP12A-E-1/8" | GP12AK-E-1/8" | GP12A-Q-1/8" | GP12AK-Q-1/8" | 12 | 3.17 | +0.07 +0.09 | 55 | 60 | 6 | 10 | |||||
| GP12A-E-5/32" | GP12AK-E-5/32" | GP12A-Q-5/32" | GP12AK-Q-5/32" | 12 | 3.97 | +0.08 +0.10 | 55 | 60 | 9 | 10 | |||||
| GP12A-E-3/16" | GP12AK-E-3/16" | GP12A-Q-3/16" | GP12AK-Q-3/16" | 12 | 4.76 | +0.08 +0.10 | 55 | 60 | 9 | 10 | |||||
| GP12A-E-7/32" | GP12AK-E-7/32" | GP12A-Q-7/32" | GP12AK-Q-7/32" | 12 | 5.55 | +0.08 +0.10 | 55 | 60 | 11 | 10 | |||||
| GP12A-E-1/4" | GP12AK-E-1/4" | GP12A-Q-1/4" | GP12AK-Q-1/4" | 12 | 6.35 | +0.08 +0.10 | 55 | 60 | 13 | 10 | |||||
| GP12A-E-9/32" | GP12AK-E-9/32" | GP12A-Q-9/32" | GP12AK-Q-9/32" | 12 | 7.14 | +0.09 +0.11 | 55 | 60 | 15 | 10 | |||||
| GP12A-E-5/16" | GP12AK-E-5/16" | GP12A-Q-5/16" | GP12AK-Q-5/16" | 12 | 7.93 | +0.09 +0.11 | 55 | 60 | 16 | 10 | |||||
| GP12A-E-3/8" | GP12AK-E-3/8" | GP12A-Q-3/8" | GP12AK-Q-3/8" | 12 | 9.52 | +0.10 +0.12 | 55 | 60 | 18 | 10 | |||||
| GP12A-E-1/2 | GP12AK-E-1/2 | GP12A-Q-1/2" | GP12AK-Q-1/2" | 12 | 12.70 | +0.12 +0.14 | 55 | 60 | 21 | 10 | |||||
外径ブローチ
外径ブローチ
外径ブローチ用アダプタと外径ブローチダイスを使用することで、外径の加工にも対応できます。 外径ブローチダイスは設計製作品で幅広いプロファイルの加工に対応できます。ブローチダイスはHSS製となります。
下記は各ホルダ用の外径ブローチダイスの概算情報です。
お問い合わせ方法については「外径ブローチ/特殊ブローチ製作」の項目もご確認ください。
| 製品コード(材質) | A - h7 | B |
|---|---|---|
| HSS | ||
| G8-ESTER | 16 | 7 |
| G12-ESTER | 32 | 20 |
| G12A-ESTER | 32 | 20 |
| G16-ESTER | 36 | 20 |
| G16L-ESTER | 42 | 20 |
外径ブローチ用アダプタ
外径ブローチダイスを使用するには、各ブローチヘッドに対応した外径ブローチ用アダプタが必要となります。
| 製品コード(材質) | A - h7 | B | C - H7 | D |
|---|---|---|---|---|
| HSS | ||||
| A-08 | 8 | 26 | 16 | 18 |
| A-12 | 12 | 42 | 32 | 18 |
| A-12-A | 12 | 42 | 32 | 53 |
| A-16 | 16 | 54 | 42 | 18 |
| A-16-L | 16 | 54 | 42 | 40 |
いたすら防止ねじ用特殊ブローチ
いたすら防止ねじ用特殊ブローチ
いたずら防止ねじは、ねじ頭に特別な構造を備えており、特殊な工具でないと締結&取り外しができない形状となっています。 穴の中心にコアを設けたいたずら防止ねじ穴を加工する専用ツールがG12V(六角)とGT12V(トルクス)となります。 下穴加工には通常のドリルやエンドミルではなく、専用のコア有り穴用エンドミルを使用します。ブリゲッティでは専用エンドミルも併せて供給しています。
| 製品コード(材質) | A | øB | C |
|---|---|---|---|
| HSS | |||
| G12V-E-3 | 3 | 1.3 | 1.6 |
| G12V-E-4 | 4 | 1.6 | 2.1 |
| G12V-E-5 | 5 | 2 | 2.6 |
| G12V-E-6 | 6 | 4 | 3.5 |
| G12V-E-8 | 8 | 5.8 | 6 |
| 製品コード(材質) | A | øB | C |
|---|---|---|---|
| HSS | |||
| GT12V - T20 | T20 | 1.5 | 1.6 |
| GT12V - T25 | T25 | 1.8 | 2 |
| GT12V - T27 | T27 | 2 | 2.4 |
| GT12V - T30 | T30 | 2.5 | 3 |
| GT12V - T40 | T40 | 3 | 3.3 |
| GT12V - T45 | T45 | 3.4 | 4 |
| GT12V - T50 | T50 | 3.8 | 4.5 |
コア有り穴加工用エンドミル
加工する穴形状に合わせたコア有穴を加工するための専用エンドミルです。

| 製品コード(材質) |
|---|
| 超硬 |
| FG12 |
外径ブローチ/特殊ブローチ製作
下記については製作可能です
- 特殊なサイズ
- 形状の内径用ブローチ
- 外径ブローチダイス
二重四角形状
二重六角形状
その他
- 内径用ブローチは原則2本~
- 外径ブローチダイスは1個~
- インボリュートブローチは外径ブローチダイスでのみ対応可能な形状です
- 六角、四角に関しては寸法Aを公差も含めて明確に指示ください
特殊なサイズ、形状の内径用ブローチ、外径ブローチダイスを製作可能です。 内径用ブローチは原則2本~、外径ブローチダイスは1個から製作可能です。 六角、四角に関しては寸法Aを公差も含めて明確に指示ください。 二重四角、二重六角も同様に寸法と公差の指示で依頼が可能です。
スプラインとセレーションは下記の寸法詳細を記入の上、ワーク図面と併せてご連絡ください。 製作の可否から判断を進めさせていただきます。
インボリュートブローチは外径ブローチダイスでのみ対応可能な形状です。
そのほかの仕様については山田マシンツールまでご相談ください。
お問合せ先
ブリゲッティ国内総代理店 山田マシンツール(株)機工営業部
E-mail: import@yamada-mt.co.jp
被削材材質/Material to broach:
加工予定数/Q.ty:
□ ブローチ加工面
□ 内径加工
□ 外径加工
スプラインブローチ
歯数 (Z)
小径 (DI)
大径 (DE)
DE上での歯厚 (L1)
DI上での歯厚 (L2)
*大径側R (R1)
*小径側R (R2)
Spline broach
N° of teeth (Z)
Inside diameter (DI)
Outside diameter (DE)
Measure of the teeth on DE(L1)
Measure of the teeth on DI (L2)
*External Radius (R1)
*Internal Radius (R2)
インボリュートブローチ
歯数 (Z)
小径 (DI)
大径 (DE)
モジュール (M)
圧力角
*大径側R (R1)
*小径側R (R2)
Involute broach
N° of teeth (Z)
Inside diameter (DI)
Outside diameter (DE)
Module (M)
Pressure angle
*External Radius (R1)
*Internal Radius (R2)
セレーションブローチ
歯数 (Z)
小径 (DI)
大径 (DE)
大径R (R1)
小径R (R2)
谷角度 (A1)
山角度 (A2)
Serration broach
N° of teeth (Z)
Inside diameter (DI)
Outside diameter (DE)
External Radius (R1)
Internal Radius (R2)
Angle between teeth (A1)
Angle of the tooth (A2)
カタログダウンロード
ご相談、お問合せはこちら
フォームが表示されるまでしばらくお待ち下さい。
恐れ入りますが、しばらくお待ちいただいてもフォームが表示されない場合は、こちらまでお問い合わせください。



